为做好安徽省基层医疗卫生专业技术人员公开招聘专业测试工作,根据《安徽省基层医疗卫生专业技术人员公开招聘工作公告》要求,现将有关事宜公告如下:
一、专业测试对象
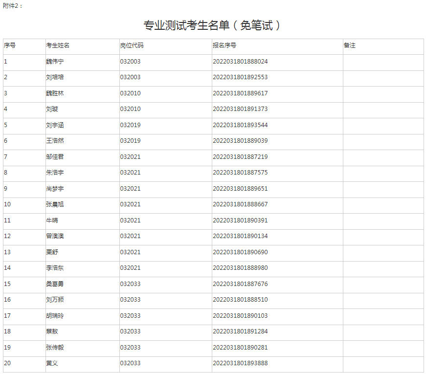
按招聘公告要求确定专业测试对象71名,具体人员名单见附件1、附件2。
二、专业测试通知书领取时间、地点
2023年3月23日-24日(上午8:00—12:00、下午14:30—17:30),考生凭本人有效身份证件到利辛县卫生健康委一楼档案室领取专业测试通知书,逾期不办理者,视为自动放弃专业测试资格。
三、专业测试时间和地点
时间:2023年3月25日上午7:30考生报到,专业测试当天上午7:50仍未报到的,视为自动放弃专业测试资格。
地点:利辛县第四小学。
四、专业测试形式
专业测试采取面试方式进行,主要考察应聘人员的综合素质能力、综合分析能力、协调应变能力、专业知识、业务能力、实际操作技能以及潜能等。专业测试总成绩满分按100分计算。为确保新进人员基本素质,设定专业测试成绩最低控制合格分数线为60分,低于最低控制合格分数线的,不得进入下一环节。
因不符合报考资格与条件,弄虚作假进入专业测试等环节的,一经查实,取消聘用资格,并由有关主管部门按规定纳入个人信用记录。
五、其他事项
1.参加专业测试考生应当自觉服从考场工作人员工作安排,配合做好专业测试工作。
2.请广大考生及时领取专业测试通知书,并严格按照要求参加专业测试(已参加笔试考生须携带身份证、专业测试通知书、笔试准考证;免笔试考生须携带身份证、专业测试通知书、报名资格审查表)。
联系电话:0558-8832052;监督电话:0558-8832053。
亳州市卫生健康委员会
2023年3月22日
Copyright © 2020 新思路职业培训学校有限公司 版权所有 All Rrghts Reserved.
执业医师考试,执业护士考试,医院招聘考试,健康管理师,中医推拿师,育婴师,执业药师考试,执业药师培训,执业护士培训,执业医师培训,医院考试培训
0551-65639769