首 页
集团品牌
集团动态
健康科普
招聘公告
课程中心
学习园地
【成绩公告】2025年度蚌埠医科大学第二批长期照护师职业技能等级认定成绩公示及领取证书方式公告
来源:
蚌埠医科大学
|
作者:
新思路医学教育集团
|
发布时间:
2025-12-05
|
278
次浏览
|
🔊
点击朗读正文
❚❚
▶
|
分享到:
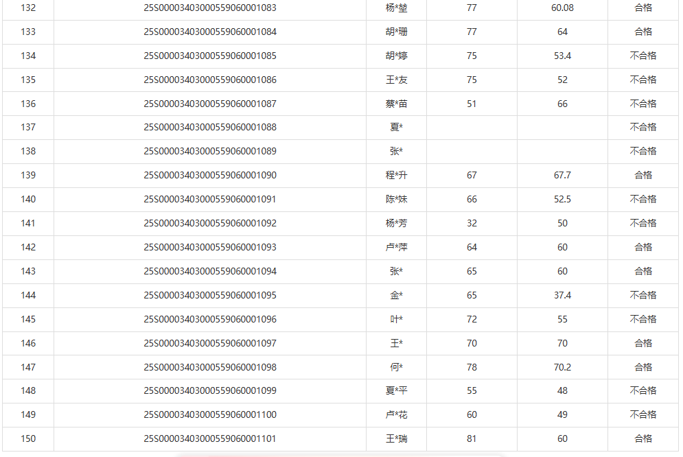
2025年11月30日,安徽省蚌埠医科大学开展的2025年度第二批长期照护师职业技能等级认定考试,在完成理论考试与实操考试后,现将考生考试成绩及证书领取方式公布如下:
上一篇:
2025年含护理岗位!蚌埠市淮上区某大型......
下一篇:
【核减公告】2026年蚌埠市卫生健康委委......